作者:必一运动日期:2026-02-14浏览:来源:bsports必一官方网站

近日,建霖家居(603408)获得了一项实用新型专利授权,专利名称为“一种切换装置”,该专利的申请号为CN9.0,授权日期定于2026年2月13日。此项专利的成功授权,标志着建霖家居在智能家居领域的进一步创新和发展。
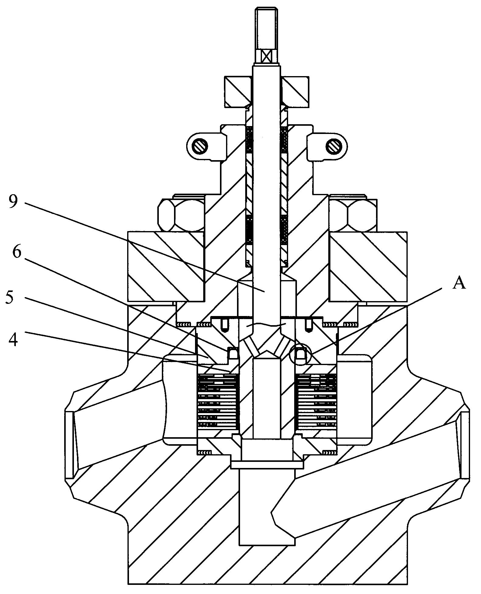
根据专利摘要,该切换装置包含一个具有分水腔的阀座,阀座上设有第一出水口、第一过水口和第二过水口。这种设计允许水流通过第一过水口从第一出水口流出,同时,阀座内的可移动阀芯配备有第一和第二密封部,使得该装置能够在操作模块或第一出水装置使用暂停水时,避免误切换至第二过水口出水,提升了使用的安全性和便利性。
建霖家居在创新研发方面的投入也在不断加大。今年上半年,公司在研发领域的投入达到了1.35亿元,同比增幅达到11.52%。这不仅反映了公司对技术创新的重视,也显示了其在智能家居市场的强劲竞争力。值得注意的是,今年以来,建霖家居已获得17项专利授权,较去年同期增加了13.33%。
通过天眼查的数据显示,建霖家居在技术创新和市场拓展方面积极布局,已对外投资8家企业,并参与招投标项目64次。这些数字不仅展示了公司的发展潜力,也为其未来的市场表现奠定了坚实基础。此外,建霖家居在商标和专利方面的信息也显示出其在知识产权保护方面的重视,拥有387条商标信息和2924条专利信息。
在当前智能家居行业蓬勃发展的背景下,建霖家居的这一切换装置专利无疑将为其产品线增添新的亮点,并可能成为推动行业创新的关键因素。随着消费者对智能家居产品需求的增加,这项专利的实施将有助于提升用户体验,增强产品的市场竞争力。
总之,建霖家居凭借其持续的技术创新和市场拓展策略,正在智能家居行业中稳步前行。未来,期待这项切换装置及其衍生产品能为消费者带来更高效、更安全的家居体验,同时也希望公司在持续创新的道路上不断突破自我,开创更加美好的家居生活。返回搜狐,查看更多
上一篇:一家三口驾车回家过年
下一篇:赛点第一副主任易兰华表示